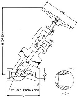
Forged Steel - Globe Valves - Y-Pattern Welded Bonnet - Class 800 (OS&Y Rising Stem - Socket Weld Ends -Screwed Ends)
Figure No. 9599
(Larger sizes available on application)
Ratings (ASTM A105):
- 1,975 psi at -20°F to 100°F
Test Pressure (API 598):
- Hydraulic: Shell - 2,975 psi
- Seat: - 2,175 psi
- Air: Seat - 80 psi
Forged Steel Globe Valves Y-Pattern Welded Bonnet
STANDARD MATERIALS
Lorem ipsum dolor sit amet, consectetur adipiscing elit. Suspendisse varius enim in eros elementum tristique. Duis cursus, mi quis viverra ornare, eros dolor interdum nulla, ut commodo diam libero vitae erat. Aenean faucibus nibh et justo cursus id rutrum lorem imperdiet. Nunc ut sem vitae risus tristique posuere.
Forging Material Body and Bonnet
Trim Material
A105
API Trim 8
A182 F11
API Trim 8
A182 F22
API Trim 8
A182 F5
API Trim 8
A182 F9
API Trim 8
A182 F316
API Trim 12
A182 F316L
API Trim 12
A350 LF2
API Trim 8

