Ball Valves - Trunnion Mounted Ball Type - Valve Class 900 ( Top Entry )

Ball Valves Trunnion Mounted Ball Valve Top Entry Class 900
(Larger sizes available on application)

Design Data and Features

  • 1 Piece
  • Double block and bleed, Double seal design
  • Sealant injection fitting (optional)
  • Full and reduced bore, Blow-out proof stem
  • Fire safe and Anti-static
  • Mounting flanged to ISO5211
  • Valve designed to API 6D
  • Valve tested to API 6D and API 598
  • Face to face to ASME/ANSI B16.10 and API 6D
  • RF flanged ends to ASME/ANSI B16.5
  • Butt weld ends to ASME/ANSI B16.25
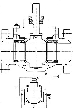
  • Size 2 3 4 6 8 10 12 14 16 18 20 24
    d   in 2.00 3.00 4.00 6.00 8.00 10.00 12.00 12.75 14.75 16.75 18.63 22.5
    mm 51 76 102 152 203 254 305 324 375 425 473 572
    L RF in 14.50 15.00 18.00 24.00 29.00 33.00 38.00 40.50 44.50 48.00 52.00 61.00
    mm 369 381 458 610 737 838 965 1029 1130 1219 1321 1549
    RTJ in 14.63 15.12 18.12 24.12 29.12 33.12 38.12 40.90 44.90 48.50 52.50 61.75
    mm 372 385 461 613 740 841 968 1038 1140 1232 1334 1568
    BW in 14.50 15.00 18.00 24.00 29.00 33.00 38.00 40.50 44.50 48.00 52.00 61.00
    mm 369 381 458 610 737 838 965 1029 1130 1219 1321 1549
    H   in 9.06 11.02 13.78 15.75 17.72 20.08 21.26 22.83 25.59 27.95 31.50 34.25
    mm 230 280 350 400 450 510 540 580 650 710 800 870
    W   in 13.78 23.62 31.50 19.69 23.62 23.62 23.62 31.50 31.50 31.50 35.43 35.43
    mm 350 600 800 500 600 600 600 800 800 800 900 900

    Other grades available upon request